超實用!多圖教你海灣火災報警系統施工布線方法
火災自動報警及消防聯動控制系統


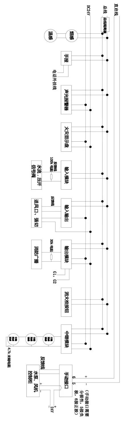
GST系列模塊接線方法示意圖及說明






說明:
-
所有模塊底座通用
-
輸入模塊的反饋端子上必須要并聯一個100K/0.25W的電阻
-
輸出模塊的9、12端子不常用
-
輸入輸出為總線模塊,需要編碼,反饋端子只能接無源反饋,不能接有源反饋
-
手動接口為多線模塊,不用編碼,主機上的每個直控點都對應一個手動接口,直接從主機布線到現場中間不連接任何設備,5、6端子要分極性
總線電話系統

控制器聯網方式參考圖及說明

海灣消防公司主營:海灣消防報警系統銷售,消防設備安裝,海灣氣體滅火、海灣電氣火災、消防水噴淋系統施工安裝,售后維修,海灣消防網站:http://www.cqcpsy.cn/;海灣消防服務熱線:4006-598-119
本頁關鍵詞:超實用!多圖教你海灣火災報警系統施工布線方法
技術資料更多 >>


蘇公網安備32058102002147號