海灣防爆手動報警按鈕防雨罩和立柱使用說明
海灣常用防爆場合的手動報警按鈕型號有J-SAF-GST9211(Ex)和J-SAM-GST9116。海灣防爆手動按鈕在室外安裝時可采用立柱和壁掛安裝兩種形式,本文將介紹兩種海灣防爆手報按鈕室外安裝配套型號及示意圖。
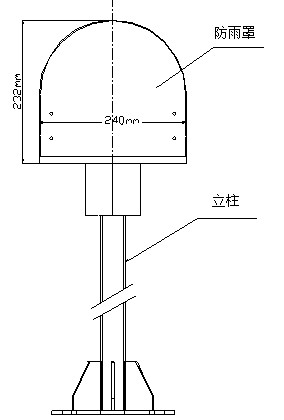
1、J-SAF-GST9211(Ex)手動報警按鈕室外立柱安裝配套產品:LZ10001型防雨罩與LZ1000型立柱;壁掛安裝時配套產品:LZ10002型防雨罩。
LZ10001型防雨罩與LZ1000型立柱配套安裝示意圖如圖所示

LZ10002型防雨罩采用壁掛式安裝,防護等級IP65,其外型尺寸及安裝示意圖如圖所示

2、J-SAM-GST9116手動報警按鈕室外立柱安裝配套產品:LZ10011型防雨罩與LZ1001型立柱;壁掛安裝時配套產品:LZ10011型防雨罩。
LZ10011型防雨罩與LZ1001型立柱配套安裝示意圖如圖所示

壁掛安裝方式示意圖如圖所示

海灣消防公司主營:海灣消防報警系統銷售,消防設備安裝,海灣氣體滅火、海灣電氣火災、消防水噴淋系統施工安裝,售后維修,海灣消防網站:http://www.cqcpsy.cn/;海灣消防服務熱線:4006-598-119
本頁關鍵詞:海灣防爆手動報警按鈕防雨罩和立柱使用說明
上一篇:火災探測器報警功能檢驗要求 下一篇:電話插孔8312接線末端接4.7kΩ終端電阻
技術資料更多 >>


蘇公網安備32058102002147號